PPH G41F-10S Typ A Flanschmembranventil DN15-300 1/2"-12" ANSI-Standard

Industrielles, weich abgedichtetes, manuelles PPH-Membranventil für hohe Temperaturen für die Wasserversorgung, ANSI-Standard
Anwendung: Allgemeine Wasserversorgung
Mittlere Temperatur: Hoch, Mittel
Stromversorgung: Manuell
Medium: Säure
Anschlussgröße: DN15–DN300
Struktur: Membran
Produktname: PPH-Membranventil
Anschluss: Flanschende
Zertifikat: ISO9001
Druckklasse: 1,0 MPa (10 bar)
Ventiltyp: 1-Wege
Dichtung: EPDM F46
Lieferzeit: 7 Tage
Mindestbestellmenge: 1 Stück

Produktstrukturmerkmale
1.Die Dichtungsmembran besteht aus F46 oder PFA mit einer Biegefestigkeit von ≥120.000 Zyklen und einer Korrosionsbeständigkeit, die F4 entspricht.
2. Das Ventil verfügt über eine Schraubenhebestruktur mit geringem Betriebsdrehmoment und ausgezeichneter Stabilität.

Liste der App-Temperaturgrenzen

Material Mittlere Temperatur℃ Material Mittlere Temperatur℃
PVC-C -20℃~ 95℃ PVC-U -5℃~ 45℃
FRPP -20℃~ 120℃ PPH -20℃~ 110℃
PVDF 40℃~ 150℃
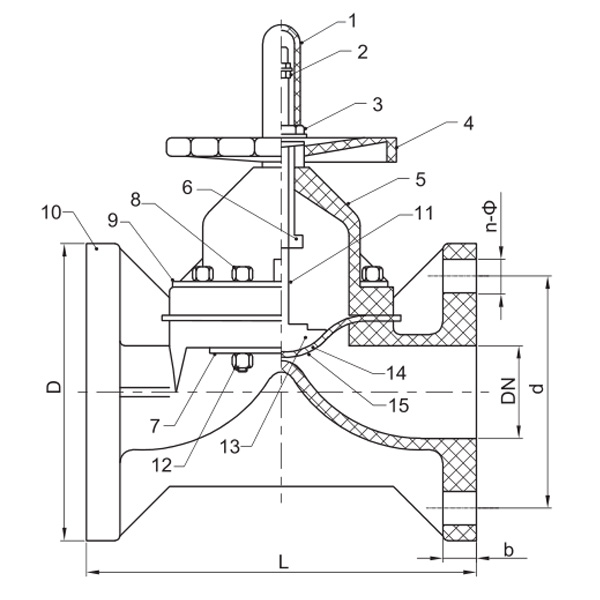
Teilematerialtabelle
Nein. Name Material Menge.
1 Deckungslimit WIE 1
2 Schraube Stahl 1
3 Sicherungsmutter 65 Mio 1
4 Rad FRPP, FRPP, FRPP, PPH, FRPP 1
5 Motorhaube PVC-C, PVC-U, PVDF, PVDF, FRPP 1
6 Nuss Kupfer 1
7 Platte Stahl
8 Schraube Stahl
9 Platte Stahl
10 Körper Stell
11 Stamm PVC-C, PVC-U, PVDF, PVDF, FRPP 1
12 Nuss Cap PVC-C, PVC-U, PVDF, PPH, FRPP 1
13 Scheibe PVDF, Eisen 1
14 Flim EPDM 1
15 Membran F46/PFA/PTFE 1

Dimensionsliste

Spezifikation d
(mm)
D
(mm)
L
(mm)
b
(mm)
n-Ф
(mm)
1/2"(15) 60 95 125 14 4-Φ16
3/4"(20) 70 115 135 18 4-Φ16
1"(25) 79 115 145 18 4-Φ16
1¼"(32) 89 135 160 18 4-Φ18
1½"(40) 98 145 180 20 4-Φ19
2"(50) 121 160 210 22 4-Φ19
2½"(65) 140 180 250 24 4-Φ19
3"(80) 152 195 300 24 8-Φ19
4"(100) 191 229 350 26 8-Φ19
5"(125) 216 250 400 30 8-Φ22
6"(150) 241 280 455 30 8-Φ23
8"(200) 299 343 570 40 8-Φ23
10"(250) 362 406 680 40 12-Φ23

Nachrichten-Feedback
Über uns
Kaixin Pipeline Technologies Co., Ltd.
1999 gegründet, Kaixin Pipeline Technologies Co., Ltd. ist ein High-Tech-Unternehmen, das Forschung und Entwicklung, Fertigung, Vertrieb und Service integriert. Das Unternehmen verfügt über mehrere renommierte Zertifizierungen, darunter National High-Tech Enterprise, „Little Giant“ Specialized and Sophisticated SME, National Single Product Champion (Anbau), Provincial Technology-based SME, Ningbo Specialized and Sophisticated SME, Ningbo Single Product Champion (Anbau), Ningbo Polymer Pipe & Valve Technology R&D Center, District-Level Green Factory, Ningbo Four-Star Management Innovation Enterprise und Enterprise Data Management Capability Maturity Level 2.
Wir sind auf die Entwicklung, Produktion und Lieferung nichtmetallischer korrosionsbeständiger Produkte für chemische Anwendungen spezialisiert, darunter Kunststoffventile, Rohre, Rohrverbindungsstücke und korrosionsbeständige Pumpen. Unser Produktportfolio umfasst Materialien wie PVC-C, PVC-U, PVDF, PPH und FRPP mit einer umfassenden Auswahl an Typen und Spezifikationen. Insbesondere können unsere Absperrklappen einen Durchmesser von DN1000 erreichen, während Rohre und Formstücke bis zu DN800 reichen, um Marktlücken zu schließen und unseren Wettbewerbsvorteil in der Branche zu wahren.
Geleitet vom Grundsatz „Technologieorientiert, mit der Zeit gehen“ stellt Kaixin jährlich fast 10 Millionen RMB für Forschung und Entwicklung bereit. Wir stellen eine hervorragende Produktqualität durch standardisierte automatisierte Fertigung und strikte Beschaffung importierter Rohstoffe sicher. Im Einklang mit unserer internationalen Entwicklungsstrategie beobachten wir kontinuierlich globale Markttrends und nutzen digitale Kanäle, um Kunden weltweit hochwertige Produkte „Made in China“ anzubieten.
Ningbo • Forschungs-, Entwicklungs- und Produktionsstandort Fenghua
Mit einer Gesamtinvestition von 200 Millionen RMB hat Kaixin Ultra-Pure Pipe Technology (Ningbo) Co., Ltd. in Zusammenarbeit mit Universitäten und Forschungsinstituten ein neues Materiallabor eingerichtet, eine moderne Produktionsbasis aufgebaut und acht vollautomatische Produktionslinien für modifizierte Kunststoffe und acht für Polymermaterialien installiert. Die Anlage widmet sich der Forschung und Entwicklung, Produktion und Anwendung neuer modifizierter Kunststoffe und Polymermaterialien. Kaixin ist außerdem bestrebt, Top-Talente aus allen Disziplinen anzuziehen und kontinuierlich Produktinnovationen und Markenentwicklung voranzutreiben, mit dem Ziel, ein weltweit anerkannter Marktführer in der Forschung und Entwicklung sowie der Herstellung von Polymerventilen, -rohren und -armaturen zu werden.
Ehrenurkunde
  • honor
  • honor
  • honor
  • honor
  • honor
  • honor
  • honor
  • honor
  • honor
Nachrichten